
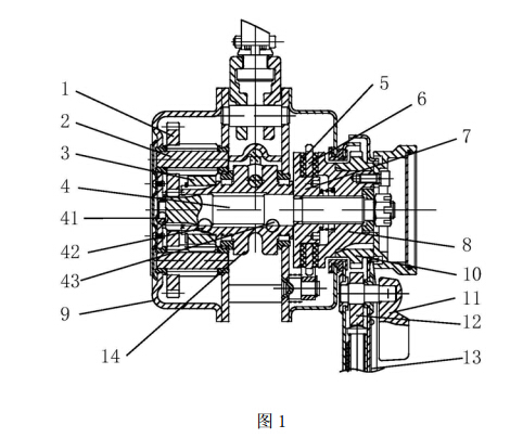
传统手扳葫芦所示,其传动长轴采用二点支撑(如图1中支撑点42,支撑点43),这种支撑方式对传动零件的形位公差及配合精度要求较低,可以降低零件的制造成本并满足一般状况的使用条件,但这种支撑方式会有如下缺陷:
1、由于传动齿轮(片齿轮、短轴齿轮、花键齿轮、传动长轴)均位于支撑点之外,且偏于一侧,在传动过程中,传动长轴承载类似于悬臂梁,而传动长轴和两个支撑点间存在形位公差,这会导致传动部平稳。
2、由于传动长轴与支撑点间存在配合间隙,在葫芦运行过程中,制动螺母摩擦片、棘轮、制动器座各制动面间有可能不平行,当相关零件尺寸间隙较大时,这种影响会变得明显,由此引发制动失灵。
3、当手扳葫芦受到冲击载荷作用时,齿轮端缺乏支撑,会加剧传动的不平衡,恶化传动长轴的受力状态,极易引起齿轮破坏。
上一条:判断手拉葫芦质量的标准
下一条:手扳葫芦支撑点存在的缺陷解决方案